Al zubasta stezaljka
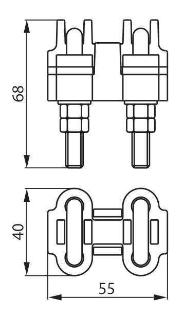
Zubasta stezaljka ovog tipa primenjuje se na spojevima koji provode struju, a treba da izdrže mehanička naprezanja voda, prema SRPS N.F4.106. Takođe su podesne za račvanje mreže i pričvršćivanje dodatnih užadi na glavnu užad. Prikladne su za spajanje vodova jednakog ili različitog preseka od 50-70 mm2. Stezaljke izrađujemo od aluminijumske legure pa odgovaraju za spajanje Al i Al-če užadi. Pomoću uzengija-vijka postignut je veoma čvrst spoj koji je osiguran kontra navrtkom (dve navrtke).
- Pakovanje: 50 kom
- Težina: 19,54 kg/100kom
- Kodni broj: 3004000



